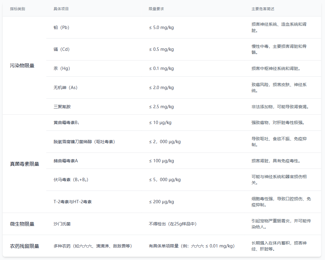
农业农村部20号公号卫生指标
由中华人民共和国农业农村部发布的 《宠物饲料卫生规定》(农业农村部公告 第20号) 。这个公告是规范中国宠物饲料(食品)行业最核心的强制性卫生安全标准。
这些指标是所有在中国境内生产、销售的宠物饲料(包括全价犬粮、猫粮、零食、营养补充剂等)都必须遵守的安全红线。
一、《宠物饲料卫生规定》(农业农村部公告 第20号)核心指标解读

二、检测项目、检测标准
| 测试项目 | 测试标准 | 资质 | 送样量 |
| 氟 | GB/T 13083-2002 | CMA/CNAS | 300g |
| 镉 | GB/T 13082-1991 | ||
| 铬 | GB/T 13088-2006 | ||
| 汞 | GB/T 13081-2006 | ||
| 铅 | GB/T 13080-2004 | ||
| 总砷 | GB/T 13079-2006 | ||
| 亚硝酸盐 | GB/T 13085-2018 | ||
| 三聚氰胺 | NY/T 1372-2007 | 500g | |
| 黄曲霉毒素B1 | NY/T 2071-2011 | 1000g | |
| 伏马毒素(B1+B2) | NY/T 1970-2010 | ||
| 呕吐毒素 | GB/T 30956-2014 | ||
| 玉米赤霉烯酮 | GB/T 19540-2004 | ||
| 赭曲霉毒素A | GB/T 30957-2014 | ||
| T-2和HT-2 | GB/T 30957-2014 | ||
| 氰化物 | GB/T 13084-2006 | ||
| 多氯联苯 | GB 5009.190-2014 | ||
| 六六六 | GB/T 13090-2006 | ||
| 滴滴涕 | GB/T 5009.162 | ||
| 六氯苯 | SN/T 0127-2011 | ||
| 沙门氏菌(非罐装) | GB/T 13091-2018 | ||
| 商业无菌(罐装) | GB 4789.26 |
三、重要说明与行动建议
1. 强制性:以上指标是最低安全门槛,宠物饲料产品必须符合,市场监管部门会定期抽检。
2. 企业责任:生产企业必须对每批原料和成品进行严格监控和检测,确保合规。
3. 消费者知情权:您可以向宠物食品品牌方或销售商索要该产品的 《卫生指标检测报告》 ,以验证其合规性。负责任的品牌会主动提供或公示。
4. 辨别信息:如果您在网上看到相关信息,请务必以农业农村部官方网站发布的正式公告原文为准,以确保信息的准确性和权威性。
希望这份清晰的梳理能帮助您完全了解宠物饲料的卫生安全要求。如果您需要查询某一特定农药的具体限量,我可以协助您进一步查找。